數據庫安全審計等保最佳實踐
更新時間 2023-11-21 17:53:38
最近更新時間: 2023-11-21 17:53:38
分享文章
DBSS可以從審計日志的天數、審計合規的報表、審計日志的隱私合規的配置來進一步滿足等保合規。
審計日志天數的合規配置
相關審計法規規定,審計日志至少保留半年。DBSS服務會自動預測審計實例的剩余存儲空間是否能夠滿足半年審計日志的合規要求,若不滿足會給出界面提示。
磁盤不足提示


當出現如圖所示提示時,請開啟自動備份,開啟備份詳情請參見自動備份數據庫審計日志。
說明
開啟自動備份時,備份周期優先選擇“每小時”。
若每天的備份文件大小總和小于50MB時,建議選擇“每天”。
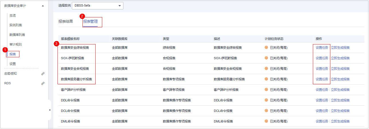
審計報表的合規配置
- 為了能夠更及時、準確的了解合規狀況,建議開啟審計報表計劃任務。
- 建議您優先設置如圖所示的報表計劃任務。報表合規設置項


單擊“設置任務”可對計劃任務的參數進行設置,參數說明如所示。


計劃任務參數說明
| 參數名稱 | 參數說明 | 取值樣例 |
|---|---|---|
| 啟動任務 | 啟動當前任務的開關。![]() |
- |
| 消息通知 | 生成報表后是否發送通知。![]() |
- |
| 消息通知主題 | “消息通知”選擇開啟時在此項選擇預設的消息通知主題。 | - |
| 報表類型 | 選擇報表生成的周期類型。 l 日報:若每天審計日志量超過1000萬條,建議選擇日報。 l 周報:若每天的審計日志量超過1萬但不超過1000萬條,建議選擇周報。 l 月報:若每天審計日志量不超過1萬條,可以選擇月報。 |
周報 |
| 執行方式 | 計劃任務創建后執行的次數。 l 周期執行:按照報表類型循環周期性執行。 l執行一次:計劃任務執行一次之后不再執行。 |
周期執行 |
| 執行時間 | 目標任務執行的具體時間點,可選擇24小時內的任一整點時間。 創建任務后紫銅自動執行,建議選擇在工作負載較低的時間段,如:凌晨。 | 2點 |
| 數據庫 | 選擇需要執行目標任務的數據庫,可選擇全部數據庫,也可選擇具體的單個數據庫。 | 全部數據庫 |
審計日志隱私的合規配置
由于審計日志中的SQL請求語句和結果集中可能包含用戶的隱私數據,建議對審計日志開啟隱私數據保護,以防止違反隱私保護相關合規要求。
通過配置如下可滿足隱私數據的合規要求:
- 開啟“隱私數據脫敏”開關:開啟后會對審計日志中的隱私數據進行脫敏存儲。
- 關閉“存儲結果集”開關:關閉后,審計日志含有隱私信息的結果集將不會存儲到審計日志中。
- 開啟所有的隱私保護規則。




-