設備軌跡
更新時間 2023-11-29 18:03:29
最近更新時間: 2023-11-29 18:03:29
分享文章
本文為您介紹分布式消息服務MQTT的操作指南-設備軌跡。
分布式消息服務MQTT支持按clientId按天維度查詢設備軌跡,以幫助排查設備在線問題和定位問題的原因。通過設備軌跡查詢,您可以獲取設備的連接歷史和動作說明,以便更好地了解設備的行為和狀態。
操作步驟
1、 天翼云官網點擊控制中心,選擇產品分布式消息服務MQTT。
2、 登錄分布式消息服務MQTT控制臺,點擊右上角地域選擇對應資源池。
3、 進入實例列表,點擊【管理】按鈕進入管理菜單。
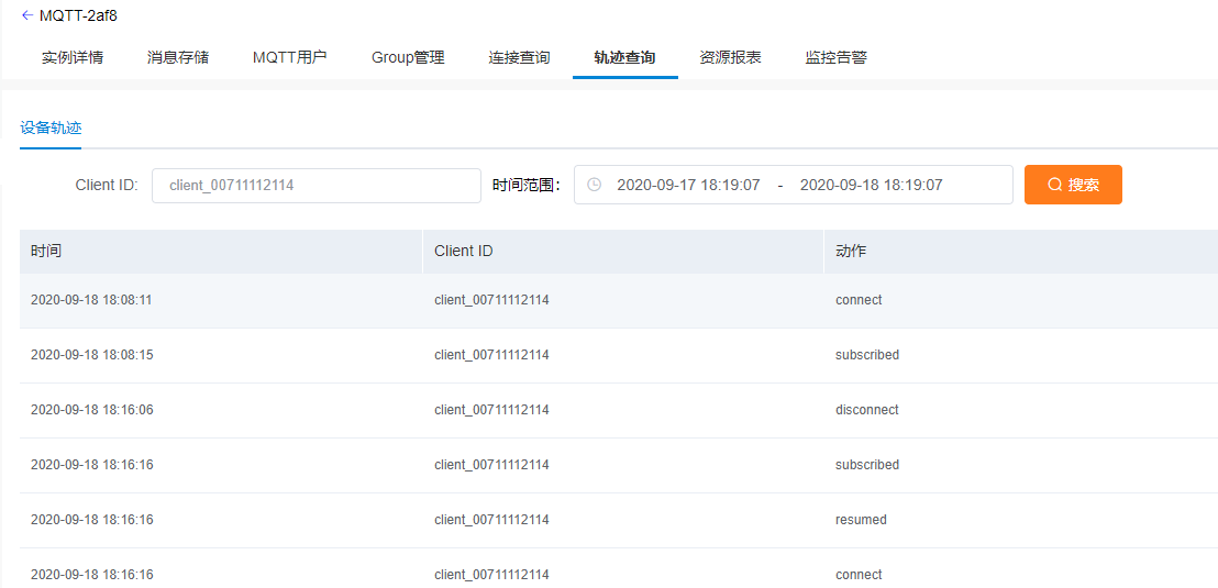
4、 進入設備軌跡菜單頁面,輸入Client ID和時間范圍,點擊搜索按鈕。
5、 展示設備各時間節點的動作信息。


查詢結果
| 字段 | 說明 |
|---|---|
| 時間 | 動作發生的日期時間 |
| Client ID | 設備id |
| 動作 | connect:建立連接 subscribed:主題訂閱 resumed:會話恢復 disconnect:連接斷開 discarded:會話丟棄,cleanSession=true客戶端連接如果服務端中已存在該客戶端的會話,丟棄舊的會話 takeovered:會話接管,cleanSession=false客戶端連接如果服務端中已存在該客戶端的會話,舊的會話被該連接接管 |