查看安全報告
更新時間 2023-12-28 10:19:03
最近更新時間: 2023-12-28 10:19:03
分享文章
此小節介紹企業主機安全查看安全報告。
主機安全支持訂閱日報、周報、月報和自定義,展現不同周期主機安全趨勢以及關鍵安全事件與風險,訂閱報告將為您保存6個月,以滿足等保測評以及審計的需要。
注意勾選訂閱報告后,第二天即可查看、下載。
約束限制
未開啟企業版、旗艦版、網頁防篡改版、容器版防護不支持安全報告相關操作。
安全報告概覽
1、登錄管理控制臺。
2、在頁面左上角單擊選擇“區域”,選擇“安全 > 企業主機安全”,進入“企業主機安全”頁面。
3、在彈窗界面單擊“體驗新版”,切換至主機安全服務頁面。。
4、左側選擇“安全報告”進入安全報告概覽頁面。服務預設了按月(default monthly security report)和按周(default weekly security report)統計的兩個安全報告模板,可直接使用。
5、單擊目標報告的“獲取報告”,跳轉至報告預覽頁,可查看報告信息、下載、發送報告。
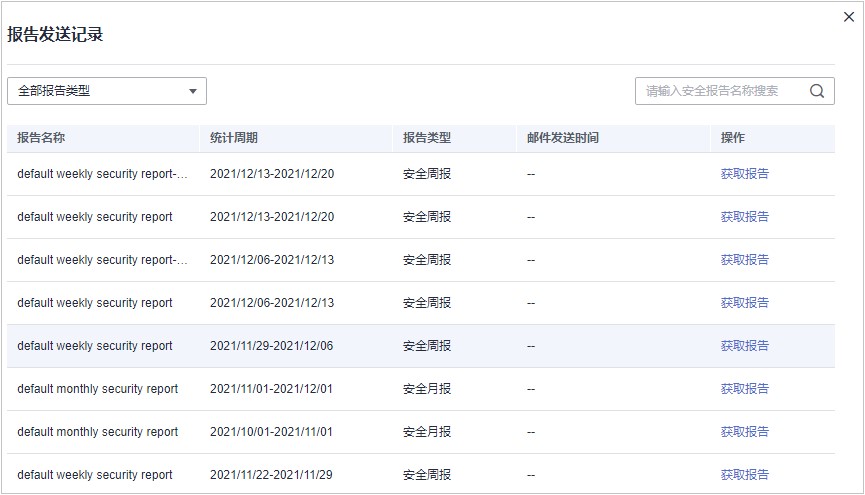
查看報告發送記錄
發送記錄存儲了郵件發送報告的發送詳情。
1、單擊安全報告概覽頁右上角的“報告發送記錄”查看報告發送記錄。
2、在彈窗中查看報告發送記錄,參數說明如表所示。
報告發送詳情

報告發送記錄參數
| 參數名稱 | 參數說明 |
|---|---|
| 報告名稱 | 已發送報告的名稱。 |
| 統計周期 | 目標發送報告內容的統計周期。 |
| 報告類型 | 目標發送報告的統計周期類型。 安全周報 安全月報 安全日報 自定義報告 |
| 郵件發送時間 | 目標報告發送的時間。 |
3、單擊“操作”列的“獲取報告”可查看歷史發送的報告信息,同時可預覽和下載報告。