云主機通過彈性IP訪問互聯網
更新時間 2025-09-29 16:47:38
最近更新時間: 2025-09-29 16:47:38
分享文章
云主機可通過彈性IP訪問互聯網,本文向您介紹云主機與彈性IP綁定,并訪問互聯網的步驟。
前提條件
已配置了云主機,且該云主機需和彈性IP在同一資源池。
背景信息
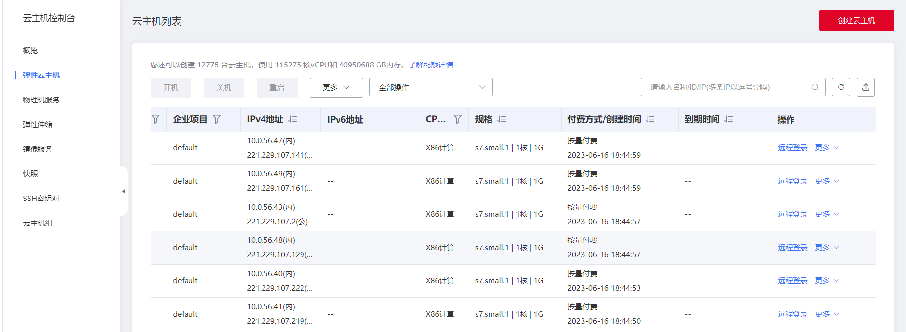
在申請云主機的時候如果選擇了“不使用”彈性IP,您的云主機將無法訪問互聯網,也無法被互聯網訪問。您對云主機的管理都只能通過控制臺的遠程登錄進行。如下圖:

如果云主機的IPv4地址信息只有內網地址,沒有公網地址,說明主機沒有綁定過彈性IP。
您可以通過購買彈性IP與云主機綁定,實現云主機訪問互聯網資源。如果云主機上部署企業應用,也可以通過彈性IP來實現被互聯網訪問,向企業的最終用戶提供服務。
跨可用區彈性云主機互訪場景,也可以通過給每個主機均綁定彈性IP,實現云主機具備互聯網訪問能力,在通過互聯網實現主機的互相訪問。
應用場景說明
用戶購買彈性IP,并將其掛載到云主機。
操作步驟
-
進入網絡控制臺,點擊【申請彈性IP】按鈕;

-
配置彈性IP的地域、名稱等基本信息,地域要和主機所在地域相同。計費方式建議和主機計費方式相同。

-
根據需要訪問互聯網的主機數量選擇購買數量,本文中我們只需要1臺主機能夠訪問互聯網,選擇購買數量“1”即可。
-
點擊【下一步】,按照提示完成訂單即可完成購買;
-
在控制臺列表找到剛剛購買的彈性IP,點擊【綁定】;

-
選擇“一對一映射”;

-
在彈出的頁面中選擇要綁定的云主機,點擊【確認】即可實現綁定。
綁定后,在控制臺列表中,該彈性IP狀態顯示“已綁定”。

-
回到云主機控制臺,可以看到云主機的IPv4信息列增加了剛剛綁定的彈性IP;
-
登錄云主機,網絡狀態顯示“已連接”,使用瀏覽器打開,可以看到此時您已經可以成功訪問互聯網,或使用ping命令測試與外部域名或IP的連通性(如 ping 8.8.8.8)。