共享流量包管理
更新時間 2023-09-27 10:27:39
最近更新時間: 2023-09-27 10:27:39
分享文章
本文帶您了解共享流量包管理的功能特性。
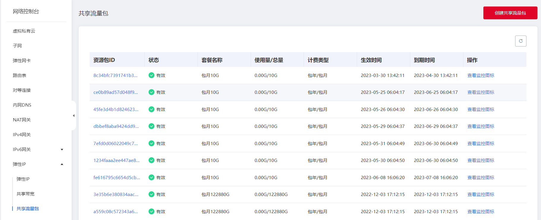
進入網絡控制臺-共享流量包列表頁面,可查看已購買流量包信息,流量包總量、流量包剩余量、到期時間等信息。
注意列表僅展示有效的和到期時間半年內的流量包。

進入網絡控制臺-共享流量包列表頁面,點擊“查看監控圖表”,可查看已購買流量包詳細流量使用信息。
您可點擊24小時、7天、15天,顯示對應的流量使用數據,也可自定義選擇時長,顯示相應的流量使用數據。
