查看執行記錄
更新時間 2023-10-13 14:53:58
最近更新時間: 2023-10-13 14:53:58
分享文章
本小節介紹服務器安全衛士風險發現中查看執行記錄方法。
查看方法
總覽界面提供對執行的各類風險掃描查看其執行情況。點擊總覽界面中的“更多”按鈕,選擇“查看執行記錄”,可查看執行記錄列表。

查看失敗主機詳情
每條記錄支持對失敗主機的詳情進行查看,點擊“失敗主機詳情”按鈕可查看失敗主機列表。

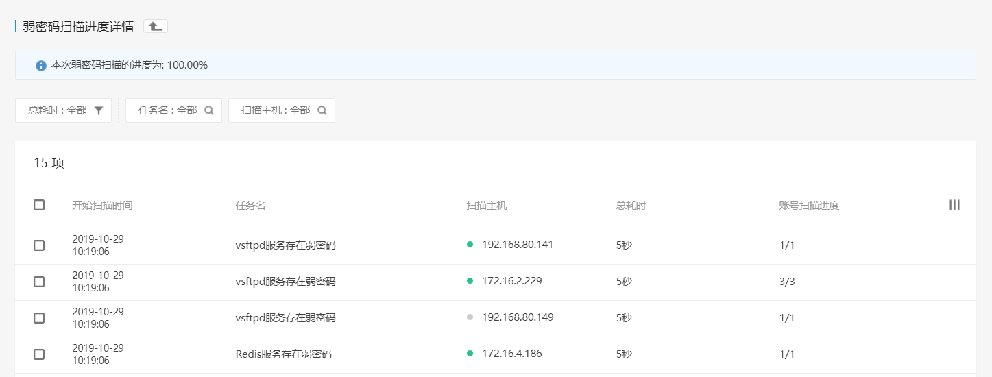
查看弱密碼進度
弱密碼額外提供對進度的查看,點擊執行內容為弱密碼掃描記錄中的“弱密碼進度”按鈕,可查看弱密碼執行進度情況。
