應用場景說明
翼加密是首個針對天翼AI云電腦場景的文件加密安全解決方案。通過高安全性的加密算法,對天翼AI云電腦(政企版)內的文件實時無感加密。在保證用戶正常使用天翼AI云電腦(政企版)的前提下,保障企業內部的敏感和機密數據文件安全不外泄。
加密文件如被移到天翼AI云電腦外部的非加密環境,則無法正常打開。防止有意/無意的文件泄漏行為。加密文檔如需外發,必須經過嚴格的脫密審批,并且保留審批記錄,有跡可循。
翼加密的優勢包括:
透明加密技術:采用高級別加密算法,文件以密文形式保存,對有權限用戶透明,不影響企業正常辦公和使用習慣。
嚴格的外發控制:無權限用戶無法正常打開加密文件。加密文件如需脫密外發必須審批,有跡可循。
全面的加密管控:可通過配置加密算法、加密強度,范圍等精準管控加密力度,支持多種高級加密標準算法。
前提條件
- 已開通天翼AI云電腦(政企版),詳情請參見快速訂購AI云電腦。
- 已開通翼加密,詳情請參見開通翼加密。
- 已在AI云電腦內下載安裝翼加密客戶端,詳情請參見安裝加密應用。
- 為了保證翼加密的正常使用,在使用之前,請您務必認真閱讀用戶須知注意事項。詳情請參見用戶須知。
操作步驟
步驟一:創建加密策略
開通翼加密后,通過天翼AI云電腦(政企版)控制臺菜單找到“文件加密”——“加密策略管理”,點擊“新建”即可自定義創建加密策略。

加密策略配置項說明如下所示:
策略內容
安全辦公場景:
加密范圍:文檔文件全選
加密強度:標準
金融財務辦公:
加密范圍:文檔文件全選
加密強度:最高
自定義設置:不預設加密范圍和加密強度,完全由管理員自定義選擇
加密范圍
租戶管理員可以根據具體的應用程序以及相應的文件格式類型,自定義配置加密文件的范圍。
剪切板控制
開啟后加密管控進程打開的文件無法復制粘貼內容到非加密管控進程,比如用WPS打開的word文檔內的文字圖片無法復制到微信,保證加密數據安全無泄漏。
加密管控進程之間的復制粘貼操作正常,如WPS打開的多個word文檔之間允許復制粘貼。
加密強度
國密算法(旗艦版):SM4,適用于有國密加密安全要求的政企部門或組織。
最高(旗艦版):AES-256,安全系數最高,適用對文件安全性要求高的場景。
高(旗艦版):AES-192,安全系數高,適用于對文件安全性有較高要求的場景。
標準(標準版):AES-128,基礎的安全加密等級,能有效加密文件,防止文件數據外泄。
步驟二:分配加密策略
創建加密策略后,回到策略管理列表,點擊右側的“分配”,可自定義設置加密策略的適用范圍。

加密策略可以按3個維度進行分配。
分配給部門:部門內的所有桌面將被分配上策略。并且該部門添加新的桌面時,新桌面也將分配上對應的加密策略。
分配給桌面池:桌面池內的所有桌面將被分配上策略。并且該桌面池添加新的桌面時,新桌面也將分配上對應的加密策略。
分配給桌面:加密策略也可以直接分配給桌面。

注意:當桌面分配的加密策略,與對應的桌面池、部門設置的加密策略沖突時,按桌面>桌面池>部門的優先級判斷。即:
1.先判斷桌面是否分配了加密策略,若有,則以桌面分配的加密策略為準;
2.若桌面沒有分配加密策略,則判斷桌面所屬桌面池是否分配了加密策略,若有,則以桌面池分配的加密策略為準;
3.若桌面池也沒有分配加密策略,則判斷桌面所屬部門是否分配了加密策略,若有,則以部門分配的加密策略為準。
步驟三:開啟加密
分配好加密策略后,點擊“文件加密”——“加密桌面管理”,就能看到所有被分配了加密策略的桌面。批量勾選列表中的桌面,點擊列表頂部的“開啟加密”按鈕,即可開啟AI云電腦加密保護。
開啟加密的AI云電腦,所有新建、下載、接收及編輯保存的目標文件類型都將自動加密。

如果希望對AI云電腦內之前已經存在的文件進行加密,可以選擇AI云電腦并點擊“全盤加密”
全盤加密之前,將對AI云電腦先進行重啟操作,請確保AI云電腦內文件已保存,并退出登錄AI云電腦客戶端。請不要將需要加密的AI云電腦關機。
全盤加密完成后,AI云電腦內已有的所有目標文件會被加密保護。并且后續AI云電腦編輯保存、接收、下載的所有目標類型文件將被自動加密保護。
注意:全盤加密/解密的持續時間與AI云電腦內的文件數有關,若AI云電腦內文件數較大,全盤加密/解密時間也相應更長。為了不影響AI云電腦正常使用,建議在晚上等不使用AI云電腦的時段進行全盤加密/解密操作。
步驟四:脫密審批流程設置
AI云電腦內的加密文件外發可以設置審批流程。打開“組織管理”——“審批流程”,點擊“分管設置”,設置租戶內各個部門的分管人員。部門內用戶提交的脫密申請將由分管人員審批。

部門的分管人員若設置了多個,則部門內人員提交的脫密申請,按該部門分管人員列表從上到下的順序進行審批。
若配置分管人員時發現部門人員與當前組織架構不符,可點擊列表右上方的“同步組織機構”進行更新。
除此之外,脫密審批流程支持更加靈活的自定義配置。在“流程配置”中找到企業加密流程,點擊“編輯”進行修改。

審批節點設置:
審批節點是阻塞節點,需審批人處理才能繼續流程。

審批人若選擇部門,則該部門的所有人都要處理該節點(不包括子部門人員)。
審批人若選擇人員,則指定某個人或多個人處理該節點。
審批人若選擇角色,則屬于該角色的所有人員均要處理該節點。
審批人若選擇人員部門控件,則可動態的選擇審批人。
審批人還可通過函數逐層查找,包括:添加新的逐層經理函數,添加新的主管函數,添加角色查找函數。
執行結果
當AI云電腦在天翼AI云電腦(政企版)控制臺完成翼加密配置后,則可以在AI云電腦內的“翼加密客戶端”進行文件脫密申請&審批,具體操作如下:
文件脫密申請
用戶可以根據需要,在自己的加密AI云電腦,針對加密文件發起脫密申請。脫密申請一次最多15個文件,上傳的單個文件最大支持200M,大于200M文件會被自動剔除。
注:如果需要脫密大于200M的文件,請聯系租戶的加密管理員申請脫密。
步驟一:選擇需要脫密的文件
選擇文件發起脫密申請的方式有3種:
(1)批量選擇需要脫密外發的加密文件,點擊鼠標右鍵,在右鍵菜單中點擊“使用翼加密申請文件脫密”。

(2)雙擊桌面的“翼加密”客戶端快捷方式,打開客戶端首頁,在首頁點擊“新脫密申請”按鈕進行文件脫密申請。

(3)在脫密申請頁,點擊“選取文件”選擇需要申請脫密的文件。

步驟二:選擇脫密方式
脫密方式包括脫密郵件和脫密下載兩種:
(1)脫密郵件:
審批通過后,會將脫密文件通過郵件發送給收件人。下載鏈接6天后將失效,收到郵件后需及時下載脫密文件。
(2)脫密下載:
審批通過后,可在客戶端下載脫密文件。下載鏈接6天后將失效,需及時下載。脫密文件通過客戶端脫密下載到加密AI云電腦內,在再次編輯保存之前將保持脫密狀態。用戶可以直接通過IM軟件、郵箱或者OA等辦公軟件進行上傳或外發。
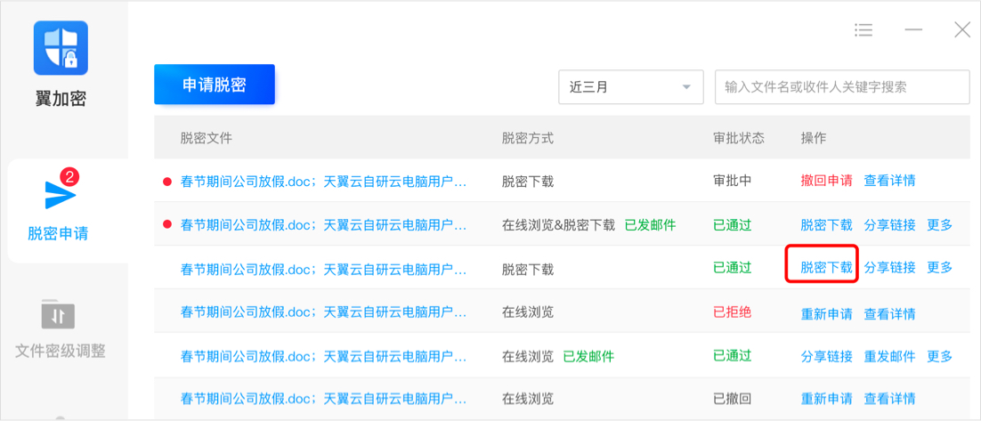
步驟三:脫密申請提交、流轉及結果反饋
提交的脫密申請,在未被審批之前,申請人可以隨時撤回并重新編輯,再次提交。
脫密申請審批完成后,審批的結果會通過消息提醒申請人:
(1)若審批不通過,申請人可以根據審批意見修改脫密申請重新提交。

(2)如通過脫密郵件的申請,收件人郵箱將收到由“翼加密”官方發送的脫密文件;如未收到,可嘗試點擊“重新發送”;

(3)如通過脫密下載的申請,可在相應記錄的右側操作欄點擊“脫密下載”,或點開申請詳情頁逐個或全部下載。


步驟四:下載郵件內的脫密文件(脫密郵件)
脫密外發收件人郵箱中將收到由“翼加密”官方發送的脫密文件,點擊下載即可下載脫密后文件。自審批通過之日起算,7天后下載鏈接將失效,請及時下載。

脫密審批
有脫密申請審批權限的用戶,客戶端首頁會有脫密審批入口。并且,當審批人接收到新的脫密申請時,右下角消息中心將會彈出提示。審批人點擊消息可以快速打開脫密審批詳情頁進行審批處理。


審批人打開打開審批詳情頁,可下載查看申請脫密的文件,進行脫密審批。
