安全日志
更新時間 2024-06-17 16:37:25
最近更新時間: 2024-06-17 16:37:25
分享文章
本節介紹安全日志中的相關功能。
在“安全日志”菜單,可以查看應用阻止日志、我的申請和處理事項等相關記錄。
當桌面處于管控狀態,用戶可在此查看被阻止運行的應用的歷史紀錄。
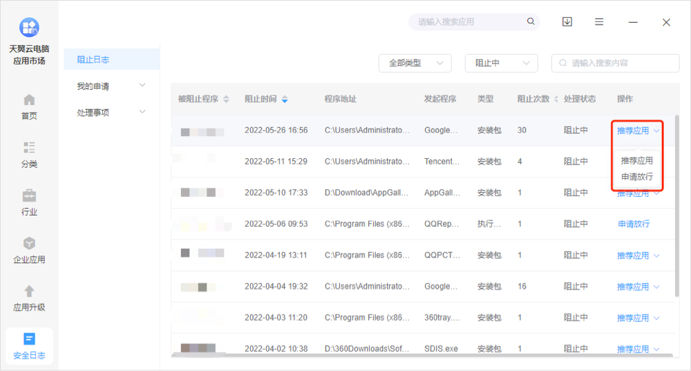
阻止日志
阻止歷史
在此頁面,可對阻止日志進行類型與狀態的篩選,并支持搜索。

發起申請
點擊阻止記錄右側的“推薦應用”,可向管理員推薦上架或申請放行該應用

我的申請
用戶可以查看當前桌面用戶向管理員提交的程序放行與應用推薦記錄。

程序放行
在此頁面,用戶可以看到自己向管理員申請放行的歷史記錄。

應用推薦
在此頁面,可以看到自己向管理員推薦應用的歷史記錄。

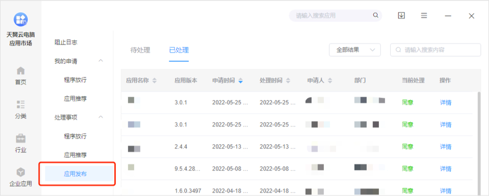
處理事項
管理員可以在這里處理“程序放行”、“應用推薦”和“應用發布”三種類型的申請。

程序放行
在此頁面,用戶能夠查看并處理所有的程序放行申請。

應用推薦
在此頁面,用戶能夠查看并處理所有的應用推薦申請。

應用發布
在此頁面,用戶能夠查看并處理所有的應用發布申請。
